



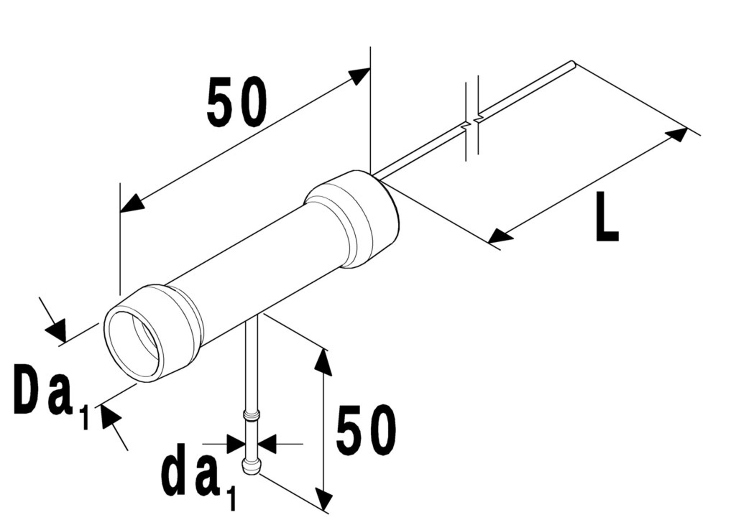
Tankentnehmer
Länge: 500 mm
Außendurchmesser: 15 mm
Tankentnehmer
Preis- und Verfügbarkeitsanzeige nach Anmeldung.
Länge: 500 mm
Außendurchmesser: 15 mm
Technische Information
Edelstahl
zum Einbau in Tankbelüftungsleitung
Technische Details
Vergleichsnummern
Barcodes
4054037050015









