




Tankentnehmer kpl. 490lg mit Zubehoer
Innendurchmesser: 2,4 mm
Außendurchmesser: 4,2 mm
Tankentnehmer kpl. 490lg mit Zubehoer
Preis- und Verfügbarkeitsanzeige nach Anmeldung.
Innendurchmesser: 2,4 mm
Außendurchmesser: 4,2 mm
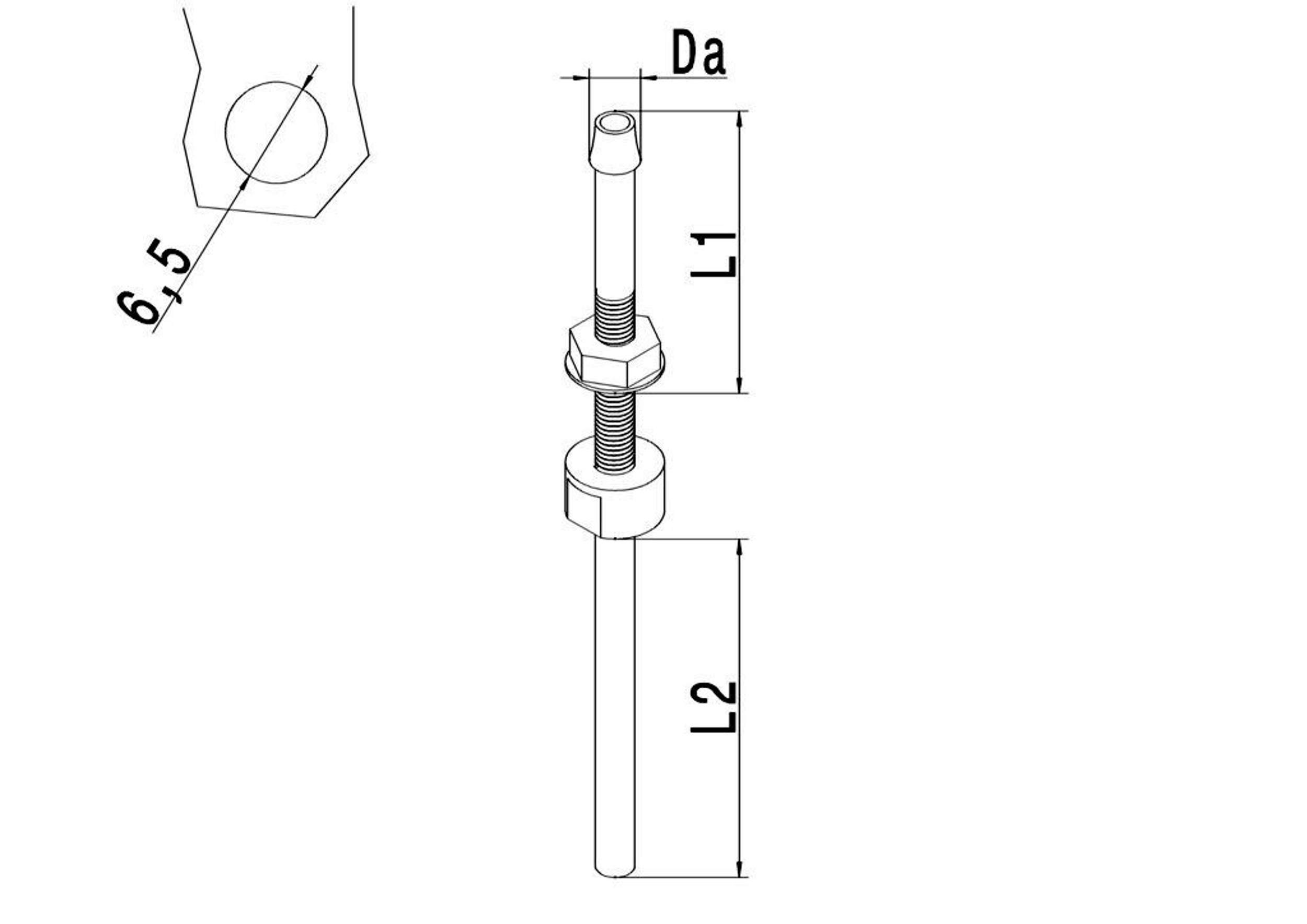
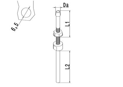
Technische Information
L2 = 440 mm im Tank
Bohrdurchmesser 6,5 mm
Entnahmestutzen senkrecht, zur Montage in Tankarmatur, für K
unststofftank und Metalltank geeignet
M6
Gewinde L = 16 mm
mit Schellen und 90° Verbindungsschlauch
Edelstahl
Technische Details
Vergleichsnummern
Barcodes
4054037100086
Gebrauchsnummern
10146488
1300496D
2701563
ET100105947